弥散蓄热燃烧系统
技术介绍
原理:将冷空气经过蓄热箱 (余热回收装置),加热到800”以上或更高温度卷吸火枪注入的燃料,燃料在高温低氧氛围中燃烧,形成温度均匀,燃烧效率高的火焰。

技术特点
1、高效蓄热式换热装置将助燃空气加热到800℃以上,提高燃烧效率;
2、助燃空气速度高于燃料速度的射流方式将燃烧燃料和助燃空气分开注入炉内,快速助燃空气气流卷吸燃料和炉内燃烧产物,稀释反应区的含氧体积浓度,获得浓度为3~15%(体积)的低氧气氛;
3、不存在传统燃烧过程中出现的局部高温高氧区;
4、这种燃烧是一种动态反应,不具有静态火焰。它具有高效节能和超低NOX排放等多种优点。
优势介绍
熔炼炉主要燃烧方式

根据实际使用生产时数据对比,可以发现我司弥散式燃烧系统的优势

因生产条件及各厂家对各自燃烧系统的技术掌握程度,以上数据作为参考,需详细了解及现场参观欢迎和我们联系
预混式燃烧系统火焰状态:集中 弥散式燃烧系统火焰状态:分散

技术要点
一、风火口优化安全燃烧技术(发明专利: ZL2016101599245)
借鉴航空发动机技术,通过改进风火口控制炉瞠内的流体流场,保证天然气在前进过程中有秩序地与助燃空气混合、缓慢燃烧直至充分燃尽,提升热量利用效率,使生产能耗最高降低20%,消除爆燃的风险。

二、弥散式高温低氧燃烧技术(发明专利: ZL2014101368538)
无穷多级混合燃烧,避免炉瞠内产生局部高温区,有效阻止N,和O,产生剧烈反应,降低助燃气体O,浓度,含氧量仅为原来的5%-10%,控制炉瞠内燃烧温度,有效降低NOx产生量。
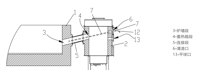
三、蓄热箱改进(专利号:ZL2019301353038)
统一设计风口各段(炉墙段、连接段、蓄热箱段),增加清渣口、平球口、蓄热容积等办法,有效解决风口堵塞不易清理、产生浓烟等问题,在节能效率、运行稳定性、使用寿命及超低NOx排放等多方面具备优势。

四.安全控制技术:
经过近10年弥散蓄热式燃烧系统的研发和现场使用,我们遇到和解决了很多安全问题做了经验的积累,并将部分保障安全的技术申请了专利,现在的我司弥散式燃烧系统无论是针对方炉,还是圆炉,我们都有对应的安全防爆技术。
要保证弥散式燃烧系统的安全运行必须做到:
(1)火焰根基稳定,由专利号CN2019104676139保证
(2)对火焰状态的判断准确,由发明专CN2016103508611和CN2019104676139技术保证
(3)火焰连续:由控制软件保证燃气枪一次风量供应量大于保证火焰连续的最低风量
本公司弥散式蓄热燃烧系统均至少包含以下专利技术
炉压稳定技术(实用新型专利号:201420104283X) ;
安全防爆技术1(发明专利:2016103508611):2
安全防爆技术2(发明专利: 2019104676139)。3
安全防爆技术3(发明专利: 202111507581.4,实审中)
注:专利有效性随时间变化,请以国家知识产权局公布为准。
如需更多了解,可到国家专利局网站查阅,或者直接和我们联系。